Toll Free: 1-800-262-4638

















 

For more than 35 years, magnetic treatment of water has been proven to reduce "hardness" caused primarily by calcium and magnesium. Water treatment can prevent deposits of these minerals on the inside of pipe walls, as well as descale the existing buildup of solids.

Typical applications of these magnets include ice machines, water coolers, instant water heaters, dishwashers, boats, air conditioners, restaurants, homes, solar panels, agricultural pipe, car wash facilities, spas, factories, hospitals, mines, boilers, steel fabricators, public pools, cooling towers, industrial drainage pipes, sewage treatment outlet pipes and many others!

Attach to intake water pipe and reduce "hardness" caused by calcium and magnesium.

 
Part No.
Pipe Dia.
Magnets Needed
Dimensions in Inches
Height, in.
Width, in.
Length, in.
WTM4
0.5
1-2
1.00
1.00
4.50
WTM4
0.75
1-2
1.00
1.00
4.50
WTM4
1.0
2
1.00
1.00
4.50
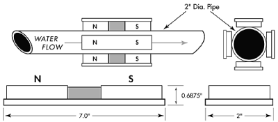
WTM802
2.0
4
0.68
2.00
7.00
WTM1863
3.0
4
1.25
2.00
7.00
WTM1863
6.0
8
1.25
2.00
13.00
WTM186X2
8.0
12
2.37
2.00
13.50
Other sizes available. All dimensions approximate.
 

The WTMLM50P water treater is for all copper or plastic pipes up to 3/4" in diameter. The south pole of the magnet is designated with an "S". Waterflow direction should be from North magnetic pole to South magnetic pole. This illustration shows the proper application of this magnet to the pipe. Attachment can be made using wire, string, duct tape or hose clamp. The magnets should be installed on the pipe between the main valve and the water heater. A secondary unit may be installed on pipe that exits the water heater, if necessary.

  This diagram shows the recommended magnet arrangement for a 2" diameter pipe with four magnets, model #WTM802.

For more information or to request a quote, call us!

Copyright © ALL Magnetics Inc Tel: 714-632-1754 Address: 2831 Via Martens, Anaheim, CA 92806